Friday April 2026

হটলাইন

কনটেন্টটি শেষ হাল-নাগাদ করা হয়েছে: মঙ্গলবার, ৯ সেপ্টেম্বর, ২০১৪ এ ০৩:২৬ PM

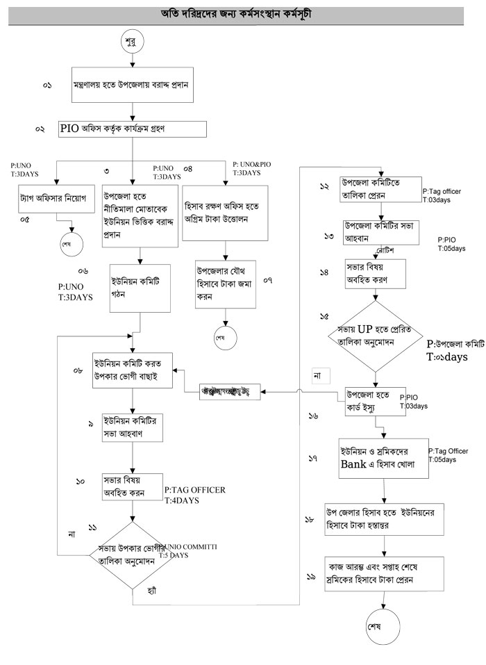
অতি-দরিদ্রদের-জন্য-কর্মসংস্থান-কর্মসূচী

কন্টেন্ট: সেবা এবং ধাপ

ফাইল ১

এক্সেসিবিলিটি

স্ক্রিন রিডার ডাউনলোড করুন